Sostituzione Serratura Centrale Porta Posteriore Sinistra Iveco Daily
Stacco

Con idoneo attrezzo (4) rimuovere i bottoni (3) e staccare il rivestimento (2) della porta (1).

Rimuovere la vite (2) e staccare la maniglia (1) dalla serratura(3).
Rimuovere le viti (4) fissaggio serratura (3) alla porta (5).

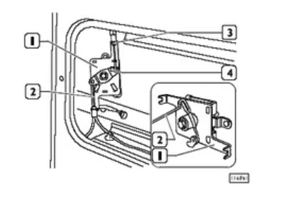
Scalzare il fermaglio (4) dal cavo bowden superiore (3) e scollegare quest’ultimo dalla serratura (1).
Ruotare opportunamente la serratura (1) in modo da poter sfilare dalla medesima il cavo bowden (2) della serratura inferiore.
Riattacco
Per il riattacco invertire opportunamente le operazioni descritte per lo stacco,
serrando le viti (4,Figura 61) alla coppia di 5,4 ÷ 10,2 Nm.


